赛鸽文化源远流长,詹森鸽的历史就是现代赛鸽的发展史。
在詹森系的进化史上,源自库勒曼(Louis Ceulemans)的红斑鸽,与史库特(Joseph Schoeters)的石板灰鸽占据着很重要的地位。
“红狐”(VOS)特指詹森兄弟的红轮鸽,似乎世界上还没有其他哪个赛鸽家的某一路血脉有这样一个响亮的专用名词。
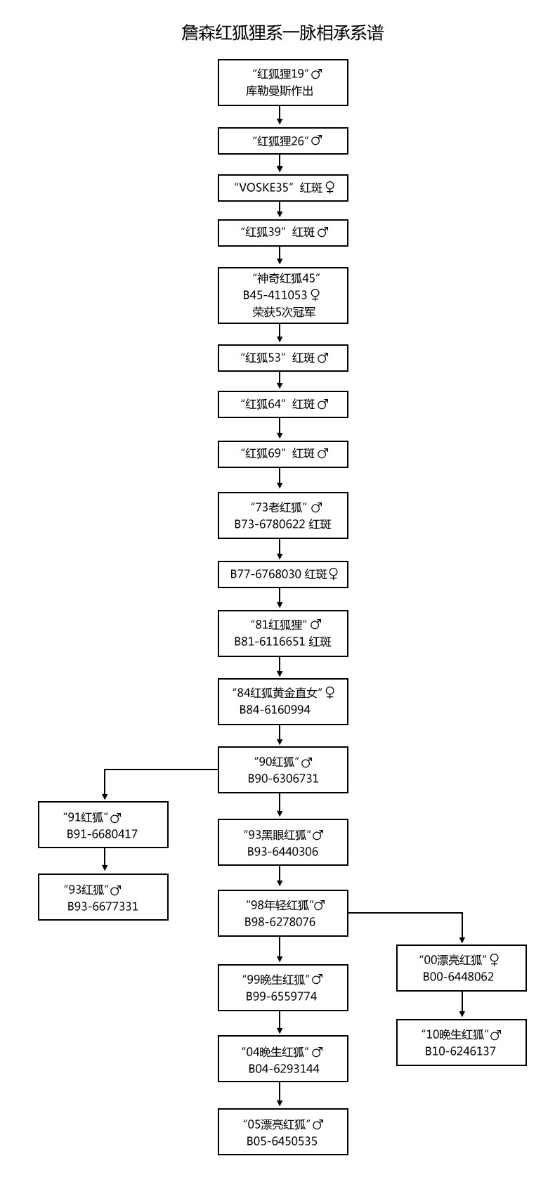
冯斯.詹森于1919年去拜访他的战友路易士.库勒曼,带回了一羽信鸽"红狐1919(Vos 1919)"——这就是詹森红轮的源头。其后,阿连栋克詹森鸽舍的杰出红鸽(vosse duiven)像钟摆般准确地出现。詹森兄弟从库勒曼引进红轮鸽比通过班诺特.史高特从库森手里引进石斑瓦灰要早。
詹森兄弟善用异色鸽,以红斑、石板、白翅与黑斑色或灰色的鸽子互配,作出眼沙极粗的鸽子,然後再与典型的赛鸽(雄占多数)交配,期待交替遗传的崽鸽能同时具备双亲的优点。重复行近亲交配,是维持赛鸽品质不坠的法宝,然后再与异色鸽交配才是秘诀!也就是说,当詹森系纯种近亲繁殖到了极限,育不出更好的品种时,可以交配红狐(VOS) 血系的红詹森鸽,所以从早期的“神奇红狐”B45-411053RC♀,到近代的“红狐73”,B73—6780622RC♂、 “红狐81”B81-616651RC♂,都是詹森鸽舍每一个时期红色代表鸽,红鸽最大的用途,在于强化雄鸽的遗传特质不会减弱,可借其恢复与改善血统的生命力。詹森兄弟并不“以色取鸽”,但是总会维持绝对数量的红轮鸽,当要低于那个数量的时候,无论别人出多少钱也不再卖了。足见红轮鸽在他们心中的分量。
至今,在詹森鸽舍2楼的房间里仍然挂着VOS60的大幅照片,詹森兄弟常向来自四面八方的到访者表示红鸽是最好的。
如此受欢迎的鸽系必然有它专属的优点,研究血统掌握系源主流,才能洞烛先机一击即中!
探索詹森育种秘笈的行家们发现,中外各路高手惯以红狐家族为主脉,将种鸽群分为两类:育种型和竞赛型。通常,育种型采用多重近亲交配,内中融入詹森其他品系,这种方式作育出的子代具有极高的做种价值;而对于竞赛鸽,惯常采用纯系红狐与异种名血交配的方法,以强化和突出红狐血系的主导作用,同时“激活”其杂交优势。实践证明,红狐族系是中外赛鸽家玩熟了的、具有优秀基因遗传特质的成熟鸽系,因此被赛鸽家们誉为赛鸽王国百年不遇的“红金”一族!
自世界各地鸽友开始陆续引进红狐狸以来,可以说是飞遍世界各地,也可以说现在世界各地的红鸽子大部分沾有红狐狸血,尤其是在台湾飞的更是如此,正是因为红狐狸这路鸽子飞的太红火,不少投机者以假乱真,是红色的鸽子就称为纯正红狐狸。
红狐狸最正宗的为砂眼,羽色也并不会局限于红色,也会出雨点、灰、红楞,主羽也会出白条,81红狐狸及外孙红狐731就有白条;红狐狸骨架特别结实,尤其是龙骨,如果是红色的话多为白头,翅膀羽轴特别粗壮,破风也是最好的,尤其是前三根将军条更是细窄粗壮。引用台湾赛鸽强豪郑明吉老师的话说:红狐狸之所以被称为“世纪大名鸽”,是因为其育种能力早己被世人所肯定,下代入赏之多恐怕无法估计!
从外在结构来看:其前插突出、后收扎实、骨硬如钢、羽质如丝、肌肉饱满、软硬适中富有弹性、背若泰山、翼若垂天之云,全身每个关节都调校到无懈可击的状态!国内外名家名鸽无数,能与之比拟的少之又少,能超越他的也只有“强速189”!
从个性来看:红狐狸个性沉稳而內敛、上手后的感觉非常安静、舒服,绝对不会急躁或狂乱,甚至鸽子在手上都感觉不出他的心跳。但在巢箱內,他是一位霸主,固守自己的地盘,不容许其他鸽子的侵犯,也绝不會到处去挑衅!
从性能来看:红狐狸的下代速度性非凡,但又非常稳定,几乎是关关快。不仅如此,其视死如归的个性,就算是恶劣气候也难不倒它。其善飞、耐翔,绝非一般詹森鸽可比拟,也因为如此,红狐狸才会成为詹森鸽舍全能鸽的代表。
红狐家族中不少优秀的种鸽被詹森兄弟捧为掌上明珠,一生为红狐家族育出不少出类拔萃的后代,像:81红狐、81红狐黄金直女、90红狐、93黑眼红狐、98年轻红狐、99晚生红狐、04晚生红狐和05漂亮红狐……一系列名扬四海的大铭鸽中最为人知的当数“神奇红狐45”、“81红狐”和“红狐731”。让我们追寻詹森鸽的足迹,对它们进一步深入了解:
81红狐(雄,81-6116651)


“红狐狸”(B81-6116651,台湾鸽友习惯称其为“81红狐”或“红狐651”),它是阿连栋克的詹森鸽舍最后一羽重要而著名的红轮鸽,是当今红狐的源头,有些人说的“红狐狸”往往是特指这羽信鸽。正是“红狐狸”的诞生和蹿红,开创了一代红狐王朝新纪元,确立了“红狐狸”在其显赫族群中的君王地位,“红狐狸”的子代便成为全球推崇和钟爱詹森红狐鸽系者们疯狂追求的热点。
1989年,日本大吉氏作为“红狐狸”的首位“宿主”,以500万日元将“红狐狸”导入本舍,不出所料,其下代在日本极度发挥,赛距由200-1100公里入赏冠军者不计其数,这惊世骇俗的表现引起全球鸽界极度关注。1994年6月,台湾强速鸽舍委托江姓先生出面交涉,寻求引进“红狐狸”事宜,几经洽商最终以60万元台币购入闻名遐迩、时年已达十三岁高龄的大铭鸽“红狐狸”,轰动台湾鸽坛。
1997年底,詹森兄弟旷世大铭鸽“红狐狸”不幸在台湾猝死,下代获得的冠亚军无法统计,是真正的红狐狸的代表鸽。令人欣慰的是,“红狐狸”临终前先后为其主人撇下一些直子,除几羽高价售与台湾鸽友外,鸽主精选了四羽条件上乘、绝版的黄金一代珍藏起来,意在延续“香火”,传承“红狐狸”血脉。
现在世界上最年轻的81红狐狸子代在强速鸽舍,其次天津天外天鸽舍也有强速鸽舍送给的81红狐狸子代,现在我们要买81红狐子代是不可能的,有需求也没有卖家,我们能买到的最高代为81红狐狸的孙代,当然价格也不会太低,台湾强速鸽舍大手笔将红狐狸最为著名的祖孙三代一起引进更是将红狐狸这路鸽子发挥的淋漓至尽。再次在台湾刮起一阵强烈的红狐风,81红狐狸引进时台湾众多养鸽名流都一起到机场迎接,一睹狐仙风姿。现在最年轻极品的81红狐狸直子女也珍藏在台湾强速鸽舍。
其后,强速鸽舍于同年10月再次以250万元日币大手笔购入“冠军狐狸”。翌年9月又将“红狐狸”的嫡外孙-红狐家族优秀代表“红狐731”导入舍中。
90红狐(雄,90-6306731)

81红狐狸最优秀的孙代为B90-6306731,红砂眼,为81红狐狸的外孙,为B84-685755小火箭直子配81红狐狸直女所出,为詹森兄弟8大种鸽之一。后代获得的成绩也是无法统计。
红狐子孙们屡屡在高规格、大级别的比赛中轻松夺冠,创造了一个又一个奇迹,续写红狐家族的新篇章,理所当然成为红狐鸽族炫耀和标榜的资本,这在中国大陆的信鸽界是绝无仅有的。
2012年5月詹森兄弟清舍拍卖会上,3羽红狐狸用它们傲人的身价再次向世人证明自己的与众不同,89800欧元的总价格,平均价近30000欧元,比全场均价2万多欧元远远超出了40%!
詹森辉煌闪耀百年,相信这些狐子狐孙们一定会传承红狐血脉,续写明天的故事。

点击环号可查看血统书
81红狐黄金直女(雌,84-6160994)
93黑眼红狐(雄,93-6440306)
98年轻红狐(雄,98-6278076)
99晚生红狐(雄,99-6559774)

04晚生红狐(雄,04-6293144)

05漂亮红狐(雄,05-6450535)
91红狐(雄,91-6680417)
93红狐(雄,93-6677331)

00漂亮红狐(雌,00-6448062)

10晚生红狐(雄,10-6246137)