2026年3月15日,内蒙古赤峰市信鸽协会2026年春季300公里比赛打响。本次赛事共集鸽1250羽,经过数小时的翱翔,最终937羽赛鸽成功归巢,归巢率达到74.96%。
比赛于当日清晨6时18分正式司放,司放地点位于通辽,地理坐标为东经122度09分32.23秒、北纬43度27分50.36秒,比赛参考空距为293.343公里。比赛当天天气条件良好,为赛鸽归巢创造了理想环境。
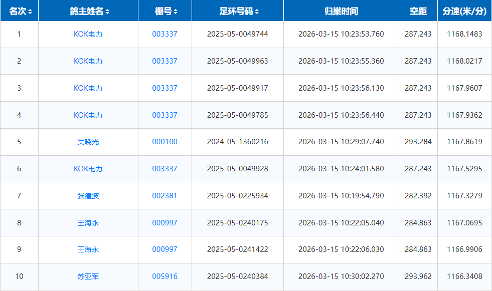
经过激烈角逐,KOK电力鸽舍的赛鸽军团一举包揽本场比赛前四名,展现出强大的整体实力。冠军由KOK电力鸽舍的2025-05-0049744号赛鸽夺得,归巢时间为10时23分53秒760,空距287.243公里,分速1168.1483米/分。亚军、季军和第四名同样来自KOK电力鸽舍,足环号码分别为2025-05-0049963、2025-05-0049917和2025-05-0049785,归巢时间均在10时23分56秒左右,分速均在1167.9米/分以上。
第五名由吴晓光的2024-05-1360216号赛鸽获得,分速1167.8619米/分。第六名再次被KOK电力收入囊中,足环号为2025-05-0049928。第七名由张建波的2025-05-0225934号赛鸽获得,第八名和第九名均出自王海永鸽舍,第十名由苏亚军的2025-05-0240384号赛鸽获得。
本次赛事最大亮点,当属KOK电力鸽舍的强势表现,该鸽舍不仅包揽前四名,在前20名中更是占据8席,充分展现了其鸽群的雄厚实力和稳定的遗传品质。前十名选手的分速均在1166米/分以上,竞争十分激烈。除KOK电力外,王海永、苏亚军、康东明、王晓方等鸽舍也有多羽赛鸽进入前100名,期待下一关更加精彩的比拼。
